BellowsFlex - FBF150FXFRI - 10"

FBF150FXFA0RI
Brand
Flex-Hose Co Inc
In stock In stock
Few in stock Few in stock
Factory Order Factory Order

Description

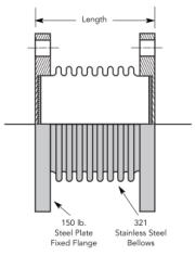
BellowsFlex Expansion Joint, 321 SS Single Ply Bellows, 150# Fixed Flanges, Tie Rods and Stops, 10" Pipe Size x 14.5" Length

Specs

By clicking 'Accept All' you consent that we may collect information about you for various purposes, including: Statistics and Marketing